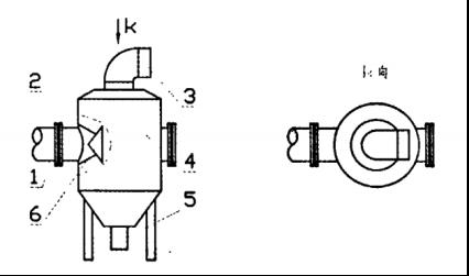
真空泵气水分离器结构的改造
从真空泵排出的含水气体沿筒体切线方向直接进入气水分离器,这加快了气水分离器的进口、筒体内壁的磨损,降低的了气水分离器的使用寿命,也增加了维修强度。
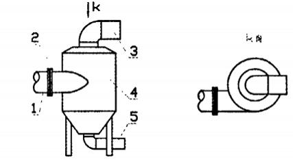
为了解决这个问题,首先将气水分离器的筒体材质由原来的A3钢改为耐磨、抗腐蚀性能均优的玻璃钢材质,并将真空泵出口与气水分离器进气口之间的管道距离延长为3.9m,并将管径增大为325mm,用壁厚10 mm的无缝钢管,这样一方面将气水分离器由室内移到室外,不仅降低了室内噪音,也改善了岗位操作环境。另一方面能够很好地起到缓冲作用,使进入筒体的气流对筒壁冲刷力减小。其次将气分水离器的切向进气口改为径向进气口,并且在离径向进气口端面处加一圆锥形挡板,这样不仅能减少由于径向进气对筒体内壁的磨损,而且锥形挡板又一次起到缓冲作用。最后,将气分水离器的底部回水管接入混凝土的地沟,使回水进入循环水系统,重复利用。见图1、图2。
